"李文亮"被抢注!国家商标局全部驳回 商
2月7日凌晨,武汉市中心医院眼科医生李文亮在抗击新冠肺炎疫情工作中不幸感染,经全力抢救无效去世。然而就在同一天,长沙某公司竟将“李文亮”抢注商标。长沙市知识产权局称,其知悉后高度重视,第一时间与天心区市场监督管理局(知识产权局)对反映情况进行调查核实。
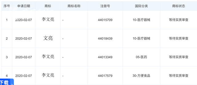
2月7日,该公司法定代表人姜某某通过网上申报途径,提交了名为“李文亮”、“文亮”等共4件商标注册申请。天眼查信息亦显示,这家公司从2月7日起,先后申请了3个“李文亮”和1个“文亮”商标,类别涉及医药、医疗器械和方便食品。
工商信息显示,该公司注册时间为2019年5月16日,注册资本200万元,法人姜维才,经营范围包括在互联网从事电子器材、电器机械及器材、保健用品、日用品、汽车内饰用品销售;家用电器及电子产品、化妆品及卫生用品、预包装食品、营养和保健食品、非酒精饮料及茶叶、散装食品、进口食品、箱包零售;电子产品组装;厨具、设备、餐具及日用器皿百货零售服务。
东莞一公司则分别于2月13日、2月15日申请注册两个“李文亮”商标,类别分别为医疗器械、服装鞋帽。工商信息显示,该公司成立于2018年2月28日,法人为周锦荣,经营范围涵盖工业机器人技术开发、系统集成、销售、技术服务及维修等。
此外,根据天眼查信息,“火神山”、“雷神山”商标申请分别有25条、16条,申请人有自然人也有企业,类别涉及医疗器械、酒、日化用品、绝缘材料等。
对此,2月28日,国家知识产权局回应称,近日,一些申请人将与疫情防控相关的“火神山”“雷神山”“瑞德西韦”“李文亮”及包含“新冠”字样的标志等申请商标注册,引发各界广泛关注与热议。
火神山医院、雷神山医院是武汉抗击疫情前线医院名称,是疫情防控期间全社会舆论关注焦点,是全国人民团结一心,抗击疫情的重要标志之一。火神山医院、雷神山医院以外的其他申请人将其作为商标注册易造成重大社会不良影响,因此,“火神山”“雷神山”商标注册申请依法应予驳回。
李文亮是武汉市中心医院眼科医生,因接诊感染新冠肺炎不幸去世。将其姓名作为商标使用或者注册,易造成重大社会不良影响,因此,“李文亮”商标注册申请依法应予驳回。
2月27日,两家公司法人分别发布致歉公告。二人均称,现在已经深刻认识到自己的错误行为,对商标全部申请了撤回,并将在以后的商业经营、商标申请中遵纪守法,希望能得到社会的谅解。
对于抢注李文亮商标公司,你想说点儿什么?
你想说点儿什么? 单选 0人 0% 臭不要脸 0人 0% 人血馒头 0人 0% 加重处罚 0人 0% 其他(评论区补充)
