游戏加载时间越来越“短”了?背后藏着这些小
作者 李晨
在两大尚未发售的次世代主机中,或许你们还没决定好究竟是选择 PS5 还是 Xbox Series X,但毫无疑问次世代游戏表现已经震撼了所有人。更精美画面表现,更丰富的 HDR 效果,更快速的读取时间,点燃了无数玩家对次世代游戏的热情。
前段时间虚幻 5 引擎的演示画面则再次为我们展现了高速读取的美妙之处,比如在极为复杂的场景中移动时完全看不到读取画面,甚至最后在空中高速飞行时所有的游戏素材都能极为迅速的完美加载。
虚幻 5 引擎的开发者游戏公司 EPIC 表示,他们所演示的 Demo 在次世代主机 PS5 上是完全可以实现的,而这都依赖于内置的高速 SSD 系统,包括微软的 Xbox Series X 同样也采用了高速的 SSD 系统用来提高游戏的加载速度。
通过高性能的 SSD 系统,加上游戏开发者们已经烂熟于心的各种优化手段,加载界面这一大型游戏的“传统艺能”可能将就此消失。
一、从卡带到光盘,内容量的爆炸带来了冗长的加载
时间往前回溯。早期的电子游戏,比如 FC 时期,由于卡带的容量很小,加上读取速度也比较快,所以几乎是看不到什么 Loading 画面的,因为 Loading 画面如果要显示内容也要占据容量,对于寸土寸金的 FC 卡带来说实在是太奢侈了。
图片来自:差评
如果你看过初代《超级玛丽》(对不起,初代还是习惯用这个从小听到的译名)对于素材复用的解析,应该还记得草丛是云朵素材的复用,只是颜色不同,而把过关音乐加速 3 倍播放再听,就是吃蘑菇时的音效。
黑屏,就是那个年底最有效直接的加载方式。而随着时间的流逝,当游戏变得越来越复杂的时候,尤其是容量的迅速增大,单纯的黑屏可以达到数分钟乃至更久,这直接伤害到了玩家的游戏体验。
对游戏加载界面影响重大深远的一项是载体的改变。在 N64 和 PS 的时代,从性能上说两家机能其实没有本质上的差距,最重点的不同在于游戏的媒介载体,N64 延续了任天堂一贯偏爱的卡带,而 PS 却采用了读取速度较慢但容量猛增的 CD 光盘。
其实 N64 上的体验依旧和我们孩童时期钟爱的小霸王类似,插卡玩游戏,加载过场多是短暂的几秒黑屏,游戏体验非常干净利落。
图片来自:NeoGAF
但到了 PS 则完全不一样,由于采用了光盘介质,单张光盘的容量能够超过 700MB,而在 PS 上甚至还有一些多 CD 的游戏大作,比如《最终幻想 7》和《最终幻想 9》 是 3 张 CD,《最终幻想 8》和《龙骑士传说》则是 4 张 CD,恋爱养成游戏《心跳回忆》 更夸张,使用了 5 张 CD。
与之相对,3D 马力欧开山之作《超级马力欧 64》的容量只有 8MB,你没看错就是只有 8MB,甚至 N64 的卡带容量上限也只有可怜的 64MB,和《心跳回忆》超过 2GB 的容量相比,数据量上早已不是一个量级。
内容量爆炸性增加,光盘读取速度还变慢了,这让 PS 时期的游戏开始出现了大量的读盘时间,但在精美的过场 CG,人物语音和更丰富的贴图素材带来的美妙体验下,这点小小的副作用自然没人在意,而今天我们已经习惯了读盘加载。
在电子游戏短短几十年的历史中,加载界面从无到有,从少数到多数,从不耐烦到习惯,玩家们早已接受了加载界面是游戏体验的一部分,而在这其中也有无数开发者曾经在这里投入实现了无穷的创意。
二、电子游戏的加载画面也是门艺术
国内一般叫小蜜蜂的《Galaxian》图片来自:Polygon
早期在加载画面玩出花的应该要数南梦宫了,南梦宫在 90 年代推出的竞速游戏《山脊赛车》,就在加载界面加入了类似《小蜜蜂》的小游戏让玩家不至于在等待的时候太无聊。
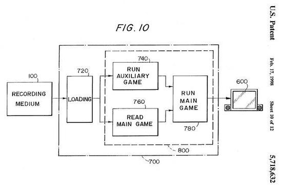
其实南梦宫并非最早使用此创意的厂商,但可能是最具商业头脑的。1995 年的时候,南梦宫在美国把这项创意注册成了专利(编号为 US 5718632 A,1995 年提交,1998 年通过),从此,其它游戏厂商要想在游戏加载界面加入小游戏就需要给南梦宫交一笔专利费用。
这个专利的有效期长达 17 年,所以一直到 2015 年11 月 27 日才正式过期,南梦宫之后推出的作品中也有很多游戏采用了类似的设计,甚至达成一定成就还能解锁一些隐藏要素。
在小游戏这条路不好走之后,大多数游戏都会采用比较传统的加载界面,就像是屏幕保护程序一样,可能是游戏插画,或者一些不同的小 Tips 等等,但有的开发者会比较用心,通过一些细微的差别展现一些自己想要表达的内容。
《特殊行动:一线生机》. 图片来自:gamesradar
在《特殊行动:一线生机》(Spec Ops:The Line)这款第三人称射击游戏中,主角 Martin Walker 在一场不公正的战争背景下逐渐失去理智,而开发者 Yager 通过加载界面中一些经典 Tips 部分来反映角色在整个战役过程中不断变化的心态。
游戏的艺术总监 Mathias Wiese 表示:加载界面让玩家不得不等待才能继续游戏,而通过加载界面的变化,我们希望与游戏的实际内容能够给玩家一致的体验。
除了和游戏毫无相干的小游戏,或者一张类似屏幕保护程序的插画之外,加载界面依然有不少值得借鉴和说道的地方,而有时这种创意非常简单。
《猎天使魔女》图片来自:laurakbuzz
动作游戏《猎天使魔女》(Bayonetta)的加载界面像是一个练习场,没有复杂且让人眼花缭乱的背景,也没有四处乱窜的敌人,有的只是 Bayonetta 一个人和出招提示,玩家可以利用读盘的时间专心练习 Bayonetta 的连招,毕竟作为纯动作游戏,连招熟练度就是一切。
三、从巧妙的后台加载到无缝加载
无论开发者在加载界面上如何花费心思,但本质上它仍然是一种妥协,由于越来越长的加载时间已经逐渐让玩家们感到厌烦,最好的方法自然还是直接干掉加载界面,如果无法干掉,就把它隐藏起来。
通过各种各样的手段,比如一段强制的过场动画,一扇门或者一条隧道,都能让加载游戏数据的过程消解在这段过场里,曾经有一些打着不用加载的游戏就是这么做的。
2005 年推出的《托尼霍克滑板:美国荒野》的宣传口号就是 No Loading(无加载界面),让玩家能够自由的享受美国洛杉矶的街区。
《托尼霍克滑板:美国荒野》. 图片来自:Gaming Debates
但游戏上市之后玩家们发现这不过只是厂商所玩的一个文字游戏罢了,这款游戏并不能实现真正的无加载,而是通过一些手段隐藏起来,其实当你在游戏里要去另一个大区域时,就必须要穿过一个“通道”,这个通道内是一些固定的素材,比如一个超市,通过把场景缩小,为之后更大的场景赢得加载时间。
类似的操作还有强制进入一段动画,在《质量效应》中,加载会在一个封闭的电梯中进行,但由于时间稍微有点长,有时候还会出现 Bug,所以玩家对此的评价并不高,在二代中电梯模式被取消,换成了简单直接的加载画面。
《战神 3》重制版的旋转楼梯. 图片来自:mobygames
相比之下《战神》系列就做的更加巧妙,比如旋转楼梯和漫长的攀爬过程就是在加载内容,再配合无法跳过的过场动画,在展现一个壮丽风景的同时,默默的就在后台把加载完成了。
新《战神》则做的更加彻底,达成了全程无黑屏读条的“一镜到底”体验,虽然是靠过缝隙、搬石头、坐电梯等方式实现的,但这种让玩家得以完全沉浸的体验也获得了很多好评。
这种无缝加载的技术也大量运用到了开放世界游戏中。这几年随着开放世界玩法的兴起,玩家们开始习惯且期待自由无缝的探索世界,这就对游戏读盘加载的要求变得很高,所以现在开发者们也在采用一些更聪明的预加载等方法,让玩家们能够体会到接近无缝的感觉。
《巫师 3:狂猎》
在 CD Projekt Red 开发的《巫师 3:狂猎》(The Witcher 3: Wild Hunt)中,玩家们可以四处跑动但很少会碰到需要加载的情况,实际上就是采用了无缝加载技术。
你可以理解成剧场开幕前的时候,工作人员四处乱窜把所有的道具摆好,甚至演员一边在聚光灯下演出,工作人员一边在黑暗中布置道具,让演出得以无障碍的进行到底。
通过预测玩家接下来的动作,游戏加载得以连绵不断的进行,从而让玩家享受到连续无缝的游戏体验。例外的是传送或者游戏角色死亡而中断的时候,这时就会进入较为漫长的加载时间。
开放世界游戏的一大台柱,任天堂的《塞尔达传说:旷野之息》也是如此,如果你看过别人的速通视频就会发现,林克在地图中以非正常速度快速移动时,每“飞行”一段时间画面就会卡住,这就是游戏的加载速度跟不上林克的移动速度了。但正常情况下玩家是不会碰到这种情况的。
《合金装备 4》里吸烟有害健康的小贴士.
今天,游戏开发者们依旧在致力于消灭冗长无聊的加载过程,带给玩家无缝沉浸的游戏体验。无论是曾经的小游戏,还是今天的无缝加载,都让玩家尽可能不无聊,甚至更多了解游戏本身的背景和世界观。
而对于一款优秀的游戏来说,读盘加载也一定不能成为伤害玩家体验的一道阻碍,这也推动了开发者们采用新技术和创意手段。但也正是因为这群游戏策划们在加载界面上也愿意付出创意,所以才为我们带来了无数感动人心的好游戏吧。
