来自 财经 2019-12-13 15:44 的文章

山东如意年内第10次成被执行人 累计执行标的超

中新经纬客户端12月13日电 中国执行信息公开网显示,2019年12月11日,山东如意科技集团有限公司新增1则被执行人信息,执行标的为1600万人民币,执行法院为山东省高级人民法院。

来源:中国执行信息公开网来源:中国执行信息公开网

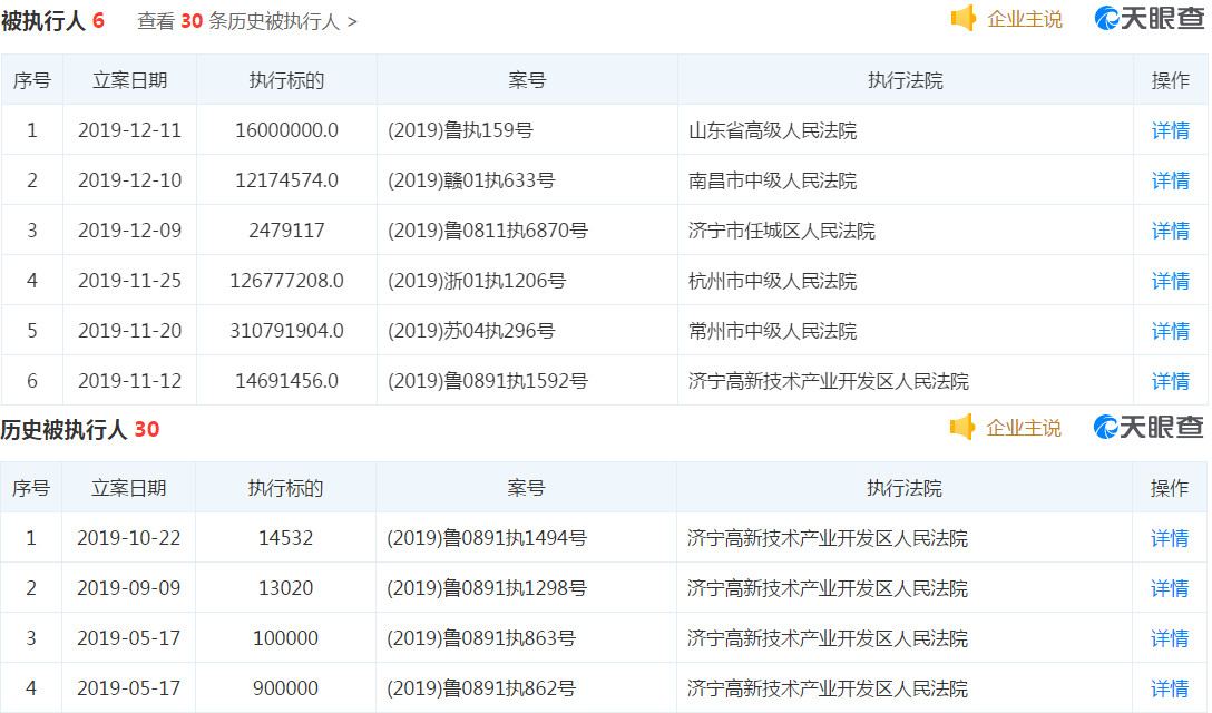
天眼查数据显示,这是该公司2019年第10次被列为被执行人,2019年累计执行标的超4.8亿元人民币。山东如意科技集团有限公司成立于2001年12月,注册资本约为40.5亿人民币,法定代表人为董事长邱亚夫,经营范围包括纺织品、服装和服饰的设计、生产、销售;销售本公司产品;服装、服饰、家用纺织品的批发等。

来源:天眼查来源:天眼查

天眼查数据显示,根据其股权结构,北京如意时尚投资控股有限公司为大股东,持股53.49%,其中,邱亚夫为北京如意时尚投资控股有限公司最大股东;济宁市城建投资有限责任公司为第二大股东,持股26%;此外,日本企业伊藤忠商事株式会社也在其股东之列。

来源:天眼查来源:天眼查

此外,深交所上市公司如意集团2019年三季报显示,山东如意科技集团有限公司为公司第一大股东,持股比例为23.12%。


财经公众号

24小时滚动播报最新的财经资讯和视频,更多粉丝福利扫描二维码关注(sinafinance)